コンテンツ一覧
封筒知識
封筒の種類
-

センター貼り(中貼)
和封筒のオーソドックスな貼り方です。縦方向のセンターで紙の流れ目方向に沿って貼るためにビシッとした張りのある封筒に仕上がっています。
-

Lシーム(横貼り)
裏面から見て右側のサイドで貼ります。中心に貼り目がないために、印刷の際に平均的な圧をかけることができ、きれいな印刷ができます。
-

YS封筒(内カマス貼)
横型封筒です。封入口が広く封入しやすいので人気の商品です。
-

窓付き封筒
納品書・請求書・DM等に使用する封筒。宛名が見えるように窓をつけてあります。
数量の多い事務用やDMに最適です。 -

洋形封筒(ダイヤモンド貼)
欧米で一般的な貼り方。展開した形状が菱形(ダイヤモンド形)のもの。招待状や案内状などのカードを入れる用途によく使われます。
-

貴重品袋
フラップの先が交換時のチケットとして切り離すことができ、ゴルフ場や宿泊施設などで貴重品を預ける際に便利です。
-
玉なし
玉付
(マルタック)
筒貼
キーバル保存袋
資料・書類・冊子等厚みのある物に使用する封筒。マチと底があるのが特徴で、多量の書類の持ち運びや整理に便利です。フラップは、紐なし・紐付・マジックテープなどがあります。
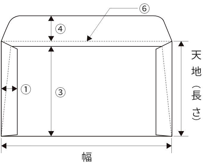
各部の名称
-
長形・角形

-
カマス貼り

-
各底

- ①サイドフラップ
- ②糊した
- ③ボトムフラップ(底)
- ④フラップ(頭)
- ⑤糊しろ
- ⑥折り筋
- 寸法は、封筒の開口部(封入口)を上にし、フラップを折った状態(封緘)で計測し「幅×天地」をmmで表示します。
- 印刷の方向は関係なく、常に開口部を上にします。
- cmではなくmmで表示します。
- 保存袋の場合は「幅×天地×マチ幅×頭」をmmで表示します。
紙質について
-

クラフト
俗にいう茶封筒のことで、昔から封筒紙としてよく使われている紙質です。高品質の素材を使用しているため、印刷に優れています。
半晒クラフトパルプと古紙パルプを原料としたクラフト紙で未晒クラフトよりもやや明るい茶系の用紙です。
古紙パルプ配合率40%以上(グリーン購入法適合)で独特の風合いを持ち、製袋に優れた封筒用紙としての定番です。 -

白菊
当店別抄き高級ケント紙で、透き通るようなきめ細やかな白さが特徴です。
ケント紙とは、イギリスのケント(Kent)地方で初めて作られたのでその名称が日本で用いられています。
インク等も比較的のりやすく作られており、厚みと白色度が高い紙質は崇高なイメージを与え、実に味のある風合いをもたらしています。 -

コニーラップカラー
ソフトカラーと比べてビビット(原色)な色合いが特徴です。
印刷適性・加工適正等の強度を兼ね備えたカラーペーパーの代表的な紙質といえます。
カラーバリエーションが豊富な上、色合いが良く美しい印刷上がりを実現できます。封筒用紙メーカーから最も使われています。 -

ソフトカラー
パステル調の色彩とソフトな肌合いの高級感あふれるカラーペーパー。
優美な色調で気品あるカラーバリエーション、環境保全と古紙パルプの再利用をも考え、印刷適性を損なうことなく古紙パルプも配合しております。 -

プラテクトカラー
不透明度99%を実現した中身が透けにくい封筒です。 滑らかな肌触りが特徴のハーフトーンカラーの内面に薄いグレーの不透明加工が施されています。
透けやすい色合い、透けにくい色合いを気にせずに、内部の機密情報や個人情報を守ります。
窓の種類について
-

セロハン窓
窓枠の内側よりセロハンを貼りつけています。無色透明で内部が見えやすいことから、窓付封筒の中で一番活用されています。
セロハンはトウモロコシ等の植物デンプンから採れるポリ乳酸を主原料としています。
完全燃焼されることにより、水と二酸化酸素に分解されダイオキシンを発生しません。
「グリーン購入法」特定調達品目の基準に適合しています。※ご注意
セロ窓封筒をお手元のレーザープリンターで印刷されますと シワが大きく入ったり、 熱で窓部分が溶ける可能性がございます。
その為、一般レーザープリンターでの印刷は お薦めさせていただいておりません。
印刷時に発生した封筒・機械の不具合に関しましては、当店では対応しかねますので予めご了承ください。 -

樹脂窓
窓素材を含め封筒全体が紙でできています。
水性ワックス(天然樹脂)を窓部分に浸透させ透明化したものです。
そのまま古紙リサイクルが可能なため、窓部分を分別する手間が省けます。
「グリーン購入法」特定調達品目の基準に適合しています。
テープの種類について
-

両面テープ
軽粘着両面テープをフラップ部分に貼りつけた両面テープです。
耳出し両面テープとは剥離紙を接着部分より両端に5mm程長くし、めくり易く工夫しています。
そのため封緘作業が短時間で行えることから発送業務等の効率化、大量に発送するDM用封筒に最適です。 -

Nクイックテープ
胴のフラップがかぶさっている部分にアクリル系接着剤を塗り、シリコン加工された紙片を貼り合わせた封筒です。
使用時は紙片をはがして接着させます。
接着効果は比較的長く続き、用途として小ロット製品によく使われます。 -

アラビア糊
水を糊の塗布面につける事により簡単に封緘できます。
二次加工が出来ない為製袋と同時加工(洋封筒・カマス貼のみ)となります。
L貼と中貼の違い
-

L貼
封筒を裏面から見て貼り合わせが右端にあるものです。
中心に貼り目がないために印刷の際に平均な圧をかけることができ、きれいな印刷が出来ます。 -

中貼
同じく封筒を裏面から見て貼り合わせが中心にあるものです。
和封筒のオーソドックスな貼り方です。縦方向のセンターで、紙の流れに沿って貼り合わせるため、
ビシッとした張りのある封筒に仕上がります。














